Sony Working on System to Allow Players to Share Controller Inputs

IbizaPocholo

NeoGAFs Kent Brockman

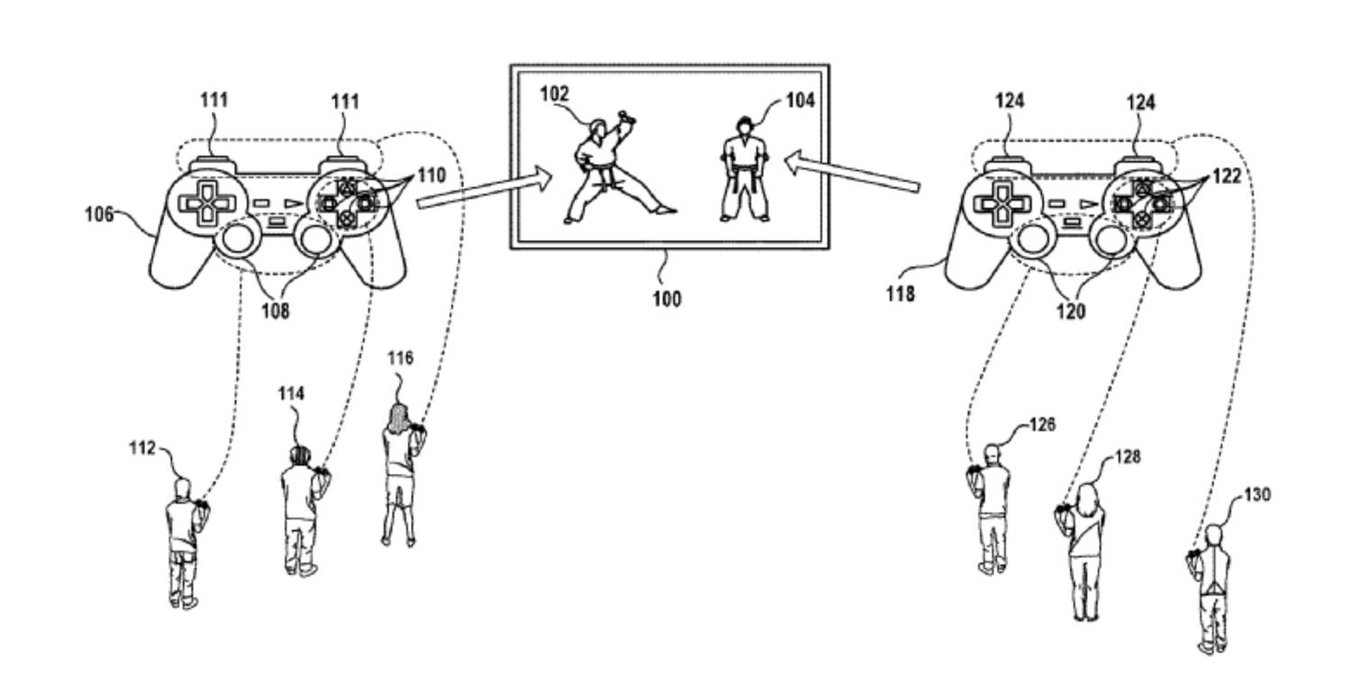
The title of the Sony patent is "Dynamic Allocation of Split Control in a Video Game," and a diagram along with a brief abstract explains further exactly what this patent could do for the gaming world. Essentially, this technology allows one controller's inputs to be divided between multiple players via a cloud gaming service. As the diagram shows, in a game like Street Fighter 6, there could potentially be one player controlling the sticks for movement, one player controlling the primary buttons, and one player controlling the trigger buttons. It is unclear at the moment if this feature would work outside of cloud gaming, as the patent only describes this as a cloud technology.

sony-shared-controller-patent.jpg
 
One player inputs the direction on a controller, the other inputs the punch button. And this over the internet.

Platinum Trophy for the game : managing to do a hadoken.
 
Sony loves their patents.

Not sure exactly how this would work, but it's interesting. I guess they'd have to disable the button functions on the other controllers, that are handled by the one player.

Doubt it'll ever see use.
 
One player inputs the direction on a controller, the other inputs the punch button. And this over the internet.

Platinum Trophy for the game : managing to do a hadoken.
I am not even kidding but I can't do a dash in one of those Arc Systems fighters. My left thunmb is just too slow and I can't do right or left twice in the required time. No problem with my right thumb or an arcade stick, but I suck at the d-pad with such things.

No idea what would be patentable with that. Trials already had a mode where both players have to control one bike together and every action works only if both do the same. So sort of almost the same thing. Overlaying controls instead of separating them.
 
Last edited:
Maybe useful as an accessibility tool, can't think of any games that are so complex they'd benefit from this for the average player

Maybe like a coop platformer could work, but you could just do that better at the game designer level
 
Maybe useful as an accessibility tool, can't think of any games that are so complex they'd benefit from this for the average player

Maybe like a coop platformer could work, but you could just do that better at the game designer level
That's what I was thinking. I remember the story of a couple that played Warframe and one of them was blind (the husband). Her wife was responsable for navigating and he was responsable for shooting and activating skills. She had engineered a really complex setup to be able to use a keyboard for jumping and the husband the controller. I can totally see this being used by them, now each with their own controller.
 
Last edited:
Top Bottom