• Hey Guest. Check out your NeoGAF Wrapped 2025 results here!

VGleaks: Orbis Unveiled! [Updated]

With the specs being revealed for Orbis. I have a question if anyone could answer it in the know? Will Orbis be able to run Battlefield3/4 with 64 players on a server? This gen definitely suffers with the lesser player count online. Thanks in advance.

Probably. ;p but who knows really.

If it helps, PS2 looks set to come to PS4, and that game is way more CPU intensive on PC. I think.
 
Cheers Ashes!

"If it helps, PS2 looks set to come to PS4, and that game is way more CPU intensive on PC. I think."

Forgive me, but what game is PS2?

Cheers
 
Does that mean having PS3 parts in PS4 would actually be feasible?
Could very well be. It all fits rather nicely. Sony announced the new ps3 last year to dole out some more profit at the current price. It was obvious that Cell wasn't ready to be shrunk and thus they mostly saved money on the materials that made the case itself, rather than the chips inside. If they still have plans to shrink the Cell, I'd expect a PS3 CH 5000 to be out by this Christmas season, allowing Sony to drop the price (it would look the same, just the inside would change- think CH 2000 to CH 3000).It would also allow for Cell being included in the PS4, instead of those Video, Audio etc modules which would allow for BC.
 
Could very well be. It all fits rather nicely. Sony announced the new ps3 last year to dole out some more profit at the current price. It was obvious that Cell wasn't ready to be shrunk and thus they mostly saved money on the materials that made the case itself, rather than the chips inside. If they still have plans to shrink the Cell, I'd expect a PS3 CH 5000 to be out by this Christmas season, allowing Sony to drop the price (it would look the same, just the inside would change- think CH 2000 to CH 3000).It would also allow for Cell being included in the PS4, instead of those Video, Audio etc modules which would allow for BC.

Hopefully, as I don't really have space to keep two consoles, and the PSN Store and PS+ service would be pretty barren at launch if PS3 content was to be locked out.
 
Hopefully, as I don't really have space to keep two consoles, and the PSN Store and PS+ service would be pretty barren at launch if PS3 content was to be locked out.
Don't the rumours suggest that the PS+ offering for PS4 will provide some surprises? PS+ required for BC streaming through Gaikai confirmed.
 
If Agni can run on PS4 at 720p and 60 fps, I'm good with that. If it can run at 30 fps and 1080p resolution, I'm also good with that. But if it can only do 30 fps and 720p... I'm gonna be very fucking disappointed. =/

For cutscenes? Almost definitely.

I would really hope 1080p is an obligation next gen.
They need that for symbolic reasons. They cannot enter an era with 4k and people with 50' screens with 720p graphics. It's been 7 years the HD era started, and videogame aren't relaly hd yet..
 
Wasn't the tech demo running at 60fps, 1080p and 8xMSAA? I'd probably say yes, but is 60fps a must for this game?.

Pffffffft is 8xMSAA a must? Dial it down to 2x + MLAA or something.

THat will never happen. Do people really expect sony to set up massive PS3 server clusters?

That's what gets me. They expect Servers capable of emulating PS3's, but not "Cell" in a PS4. The costs for the servers would be much higher and would really become irrelevant after 1 gen.
 
Hardware shrinks are going to be harder and harder. Getting more and more performance out of the given power envelope will be harder and harder.
 
Hardware shrinks are going to be harder and harder. Getting more and more performance out of the given power envelope will be harder and harder.

Of course they will. No one is arguing otherwise, but Sony will still be selling the PS3 for years in other emerging markets. Just last month PS2 manufacturing FINALLY stopped, and they made massive amounts of money on it. They're going to want to make PS3's as cheap as possible to produce for the next 4 or 5 years of them selling it.
 
For cutscenes? Almost definitely.

WHY? We can argue that cutscenes are what the directors want to show you as opposed to playing the game. So I actually don't mind 1080p24 cutscenes and then extended to 1080p30 or 1080p60 for gameplay with limitations. I believe Agni using Orbis's specs will be able to be play in 1080p or at least anamorphic 1080p with some post AA.
 
With the specs being revealed for Orbis. I have a question if anyone could answer it in the know? Will Orbis be able to run Battlefield3/4 with 64 players on a server? This gen definitely suffers with the lesser player count online. Thanks in advance.

Yes, 64 Player maps on next gen running @ 1080p & 60FPS.
 
Pffffffft is 8xMSAA a must? Dial it down to 2x + MLAA or something.



That's what gets me. They expect Servers capable of emulating PS3's, but not "Cell" in a PS4. The costs for the servers would be much higher and would really become irrelevant after 1 gen.

its a numbers game. If their research shows that BC is something lots of people say they want, but not something lots of people actually *use*, then they could attempt BC via streaming with a limited number of boxes.
 
its a numbers game. If their research shows that BC is something lots of people say they want, but not something lots of people actually *use*, then they could attempt BC via streaming with a limited number of boxes.

This is not an ideal solution:

- paying a fee on top of console, PS+ for BC is irritating
- what availability can Sony offer for a certain price (eg. 10 BC subscriptions = 10 PS3s or just go with 6 because not everybody will be using it at the same time?)
- what happens after a few years when BC is not as important? Do you throw away part of your PS3 cluster or do you have to maintain it?
- etc.
 
Cheers Ashes!

"If it helps, PS2 looks set to come to PS4, and that game is way more CPU intensive on PC. I think."

Forgive me, but what game is PS2?

Cheers

Planetside 2. That game is heavily CPU bound for many. Hell, even my i7 2600k chokes on the magic of PS2 sometimes lol.

It'll be coming to PS4. If it doesn't, Sony is really dumber than we all thought. It's a running joke that us PC gamers are beta testing it for PS4 owners. You guys are going to have a hell of a game when it launches for it. Hopefully Sony is smart and puts cross platform play into it.
 
Really hope we see some huge multiplayer titles like ps2 and that the graphics and framerate hold up nicely. Only time will tell.
 
An interesting excerpt from today's EDGE article about always online and barring used games (MS):

Though the architectures of the next-gen Xbox and PlayStation both resemble that of PCs, several development sources have told us that Sony’s solution is preferable when it comes to leveraging power. Studios working with the next-gen Xbox are currently being forced to work with only approved development libraries, while Sony is encouraging coders to get closer to the metal of its box.

So, I guess developers are starting put more faith in Sony from the last time where Aegeis stated MS had the upper hand.

Does this mean that more performance can be extracted from Orbis from get go and that ease of programming means development of next gen games may be led on PS4, albeit the similar architectures mean the differences may not be detrimental to either party?
 
An interesting excerpt from today's EDGE article about always online and barring used games (MS):



So, I guess developers are starting put more faith in Sony from the last time where Aegeis stated MS had the upper hand.

Does this mean that more performance can be extracted from Orbis from get go and that ease of programming means development of next gen games may be led on PS4, albeit the similar architectures mean the differences may not be detrimental to either party?

Last time I checked it was MUCH MUCH more expensive to "code to the metal" so most developers would rather use API's if all things are equal....no idea why developers(and publishers) would be happy about having to code to the metal instead of use mature and complete API based solutions.
 
This is not an ideal solution:

- paying a fee on top of console, PS+ for BC is irritating
- what availability can Sony offer for a certain price (eg. 10 BC subscriptions = 10 PS3s or just go with 6 because not everybody will be using it at the same time?)
- what happens after a few years when BC is not as important? Do you throw away part of your PS3 cluster or do you have to maintain it?
- etc.


Just to be fair, PS+ is already a great value and doesn't include Backwards Compatibility. Playstation Plus+ would be more than simply allowing BC, it allows cloud saving, automatic updates, free PS3 games, free Vita Games, Beta Entries, Exclusive Sales. You wouldn't be simply paying for BC, you would be paying for all that, in addition to, BC.
 
Last time I checked it was MUCH MUCH more expensive to "code to the metal" so most developers would rather use API's if all things are equal....no idea why developers(and publishers) would be happy about having to code to the metal instead of use mature and complete API based solutions.

Comprehensive, easy to use APIs are great until you have trouble hitting performance goals. Doesn't even have to be the API's fault, but having the option to dig deeper to fix a performance or even functionality issue rather than hoping the API gets an update or removing features is probably quite helpful. Sony already has high-level APIs from what I understand, so getting started shouldn't be a problem.

Besides, most developers are using pre-built engines anyway. I'm sure Epic and Crytek are more than happy to get their hands dirty.


That's what gets me. They expect Servers capable of emulating PS3's, but not "Cell" in a PS4. The costs for the servers would be much higher and would really become irrelevant after 1 gen.
The only sensible way of doing BC through Gaikai is with actual PS3s as servers, custom built to handle the video encoding. They'd only be able to handle one player per server, but the per server costs could be much lower than standard rackmount PCs + GPU. The main problem is they lose the lag-reduction trick of running at 60 fps for most games, but I don't remember if Gaikai needed that or if it was OnLive.

If they do use Gaikai for BC, I hope PS+ looks more like Netflix, where you can stream whatever from the library.
 
Just to be fair, PS+ is already a great value and doesn't include Backwards Compatibility. Playstation Plus+ would be more than simply allowing BC, it allows cloud saving, automatic updates, free PS3 games, free Vita Games, Beta Entries, Exclusive Sales. You wouldn't be simply paying for BC, you would be paying for all that, in addition to, BC.

So 50€ for BC, free games, better prices, cloud saves, early access, etc. sign me up (again) but I doubt this will happen. In that case Sony needs basicly 1 PS3 for each PS+ user to ensure BC compatibility which drives up cost for Sony - or imagine the outcry if you have to wait in a queue for a old PS3 game to play because there are not enough free PS3s. C loud gaming and streaming is not yet the answer for backwards compatibility - Sony would be wise to offer that "plugin" for 50-100$. They get money, a customer a easy and 100% working solution and if the demand drops you sell them cheaper or reduce production.
 
The only sensible way of doing BC through Gaikai is with actual PS3s as servers, custom built to handle the video encoding. They'd only be able to handle one player per server, but the per server costs could be much lower than standard rackmount PCs + GPU. The main problem is they lose the lag-reduction trick of running at 60 fps for most games, but I don't remember if Gaikai needed that or if it was OnLive.

If they do use Gaikai for BC, I hope PS+ looks more like Netflix, where you can stream whatever from the library.

Yep. Pretty much. I agree with everything said here.
 
THat will never happen. Do people really expect sony to set up massive PS3 server clusters?

Yeah I don't understand this. Apparently plugging some Cell SPU module into the Orbis APU would be prohibitively expensive and not worth the cost, but setting up farms of ps3 servers around the world to stream ps3 games isn't and would somehow also generate more income. Doesn't add up to me.
 
The only sensible way of doing BC through Gaikai is with actual PS3s as servers, custom built to handle the video encoding. They'd only be able to handle one player per server, but the per server costs could be much lower than standard rackmount PCs + GPU.
I'm quite sure that only sensible way is to have rack mounted servers where you have 'ps3 boards' which send data to video encoder on main board.
This way you can have huge amount of ps3 on single cabinet and can design the thing properly around the concept. (IE. full control trough servers.)
 
Last time I checked it was MUCH MUCH more expensive to "code to the metal" so most developers would rather use API's if all things are equal....no idea why developers(and publishers) would be happy about having to code to the metal instead of use mature and complete API based solutions.

Sony is allowing, not requiring it, Microsoft forbids it.

There are places where coding to the metal, or close to the metal can be very beneficial yes it takes more time to code usually, but it also allows you to have a much more fine grained control of whats going on.

Sony will provide a API, but they will also allow you to get closer to the hardware if you want to, which is good.
 
If Agni can run on PS4 at 720p and 60 fps, I'm good with that. If it can run at 30 fps and 1080p resolution, I'm also good with that. But if it can only do 30 fps and 720p... I'm gonna be very fucking disappointed. =/

For cutscenes? Almost definitely.

I was super impressed by Agni's philosophy. If it can run at 720 p, 30 fps with nice IQ (all those heads of hair and beards are gonna look like shit without AA) I'll be happy. Then I would think...what the fuck will they achieve 4 years from now?
 
The only sensible way of doing BC through Gaikai is with actual PS3s as servers, custom built to handle the video encoding. They'd only be able to handle one player per server, but the per server costs could be much lower than standard rackmount PCs + GPU. The main problem is they lose the lag-reduction trick of running at 60 fps for most games, but I don't remember if Gaikai needed that or if it was OnLive.

If they do use Gaikai for BC, I hope PS+ looks more like Netflix, where you can stream whatever from the library.

Why add $100 overheads? It'd be cell servers. Ps3 stripped to a rack, no?

And most likely a roll out from place to place because gaikai depends on local connections.
 
I'm quite sure that only sensible way is to have rack mounted servers where you have 'ps3 boards' which send data to video encoder on main board.
This way you can have huge amount of ps3 on single cabinet and can design the thing properly around the concept. (IE. full control trough servers.)
I was assuming that waiting until the finished frame is output through HDMI before starting the encode for that frame would add extra lag, but I don't know enough of the details of how HDMI output works on the PS3 to be sure.

Why add $100 overheads? It'd be cell servers. Ps3 stripped to a rack, no?

And most likely a roll out from place to place because gaikai depends on local connections.

I mean actual PS3s as opposed to emulation, which was part of what I was responding to. Yeah, they'd be stripped down pretty hard, since they wouldn't need a blu-ray or HDD, just stream everything over the local network. Their existing gigabit lan connection is plenty for that.
 
I mean actual PS3s as opposed to emulation, which was part of what I was responding to. Yeah, they'd be stripped down pretty hard, since they wouldn't need a blu-ray or HDD, just stream everything over the local network. Their existing gigabit lan connection is plenty for that.

*nods in agreement*
 
Resistance: Fall of Man has what 40 players online? I don't think the number of players online being 64 would be that challenging, even on the PS3.
 
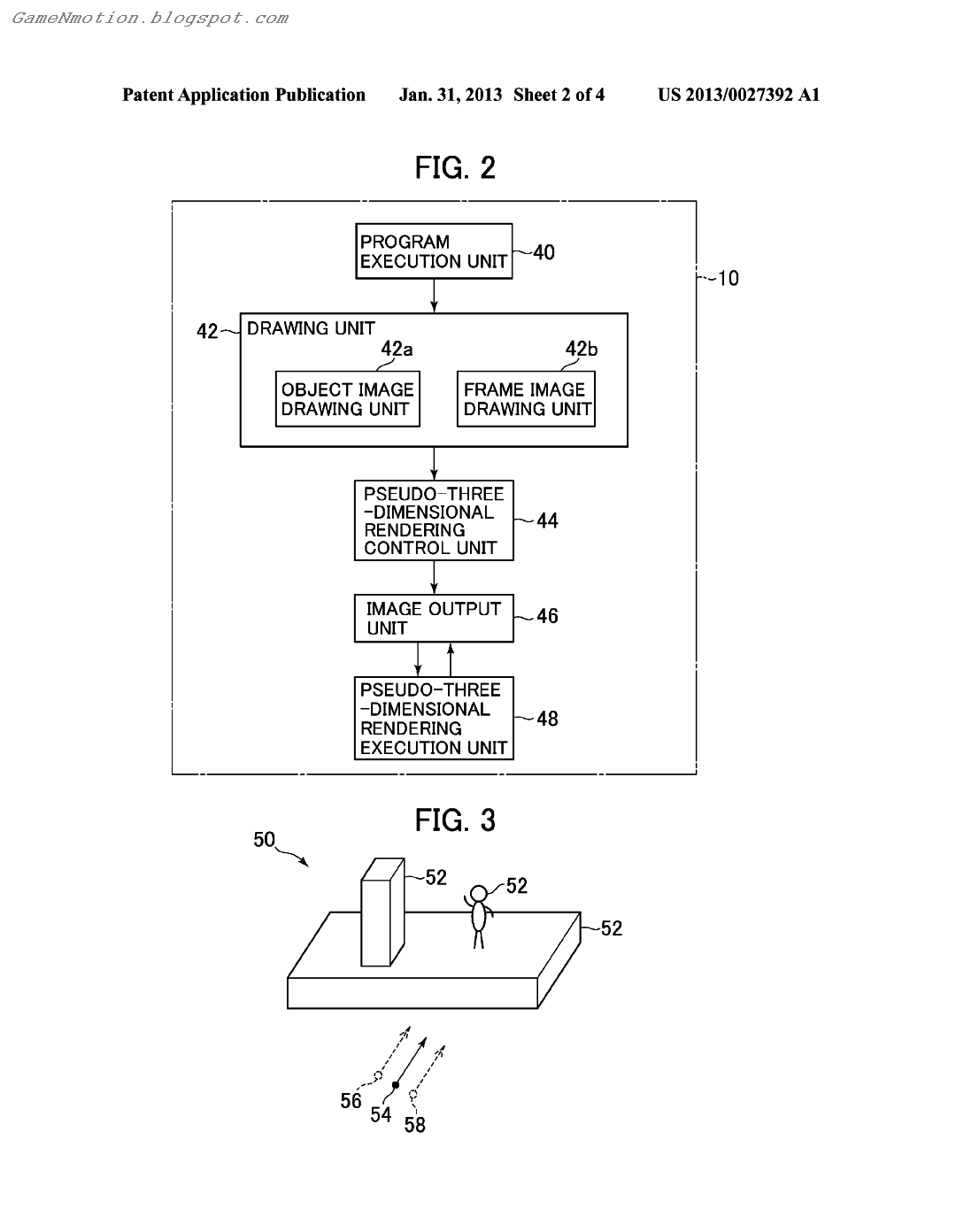
I came across a patent that shows what looks like the PS4 with a 'Image Processing Unit' in it which I'm guessing will be for the new Dual Camera PlayStation Eye / 3D.


reading it again & they seem to be calling the console the 'Image Processing Unit' for the 3D I'm not sure.

http://appft.uspto.gov/netacgi/nph-...mputer"&OS="sony+computer"&RS="sony+computer"

20130027392-1+small.jpg


20130027392-2+small.jpg


20130027392-3+small.jpg
 
So 50€ for BC, free games, better prices, cloud saves, early access, etc. sign me up (again) but I doubt this will happen. In that case Sony needs basicly 1 PS3 for each PS+ user to ensure BC compatibility which drives up cost for Sony - or imagine the outcry if you have to wait in a queue for a old PS3 game to play because there are not enough free PS3s. C loud gaming and streaming is not yet the answer for backwards compatibility - Sony would be wise to offer that "plugin" for 50-100$. They get money, a customer a easy and 100% working solution and if the demand drops you sell them cheaper or reduce production.

Of course they wouldn't need a 1:1 availability of PS3s for PS+ users. Ever heard the term over previsioning? It's a standard model for companies, from air lines to ISPs to cloud service provider. They just work out the likely percentage of users who will concurrently us BC, and provision to this number. In most cases, that number is vastly under the total number of subscribers.
 
reading it again & they seem to be calling the console the 'Image Processing Unit' for the 3D I'm not sure.

Yeah it's nothing to do with cameras. "The image processing unit 20 includes a graphical processing unit (GPU) and a frame buffer."

It seems to be talking about switching between 2D and pseudo 3D image display but it's the most painful to read patent I've ever seen, and that's saying something.
 
Yeah it's nothing to do with cameras. "The image processing unit 20 includes a graphical processing unit (GPU) and a frame buffer."

It seems to be talking about switching between 2D and pseudo 3D image display but it's the most painful to read patent I've ever seen, and that's saying something.

What do you make of this one?

http://appft.uspto.gov/netacgi/nph-Parser?Sect1=PTO2&Sect2=HITOFF&p=1&u=%2Fnetahtml%2FPTO%2Fsearch-bool.html&r=2&f=G&l=50&co1=AND&d=PG01&s1=%22sony+computer%22&OS=%22sony+computer%22&RS=%22sony+computer%22


 
Top Bottom