• Hey Guest. Check out your NeoGAF Wrapped 2025 results here!

VGleaks: Orbis Unveiled! [Updated]

That horse looks like this
fail_running_stick_horse.gif
 
Yeah it's nothing to do with cameras. "The image processing unit 20 includes a graphical processing unit (GPU) and a frame buffer."

It seems to be talking about switching between 2D and pseudo 3D image display but it's the most painful to read patent I've ever seen, and that's saying something.

Yeah, I've got no idea what this one says, and I've read several patents in full before.


Seems like a function that's used to capture motion, construct a "skeleton", correct it(?), and then render that onto a screen.
 
Yeah, I've got no idea what this one says, and I've read several patents in full before.



Seems like a function that's used to capture motion, construct a "skeleton", correct it(?), and then render that onto a screen.

That's my take on it too, seems a lot like the Kinect & Softkinetic patents that I've seen for rendering your movements on the screen, but it could also just be for the PlayStation Move avatar controlling.
 
Not sure if this post was intentional, but I can't stop cracking up


Graphics Horse
graphics horse
graphics horse
does whatever a
graphics horse does

seemed like the perfect person to ask about the Horse Graphics! lol


wut



Some vague skeletal adjustment/foot planting idea, Again I'm not sure what they're actually patenting.

I will say that the first two names in the patent are from Team Ico, they did some nice dynamic horse skeleton work on the PS2.
0IGbuQN.jpg

thanks
 
More like PS3 GPU. I'm not sure why it says February 5, 2013 at the top, but it was filed in 2006. Probably just updated with a new reference or something.

I find it interesting that Sony can patent what is pretty much a slight variation on what is essentially Nvidia tech (at the time).
 
I came across a patent that shows what looks like the PS4 with a 'Image Processing Unit' in it which I'm guessing will be for the new Dual Camera PlayStation Eye / 3D.


reading it again & they seem to be calling the console the 'Image Processing Unit' for the 3D I'm not sure.

http://appft.uspto.gov/netacgi/nph-...mputer"&OS="sony+computer"&RS="sony+computer"

Doesn't seem to be Dual Camera related. Seems like a technology to create 3D images for the left and right eye, based on a pseudo-virtual-space (if it's not directly rendered on the chip if I understood that correctly).

What seems interesting though:

[0055] Further, an emulator can be executed on the image processing apparatus 10 according to this embodiment. The emulator is a process functioning as a virtual machine for executing a program that can be executed by an apparatus including a processor of a different type from that of the image processing apparatus 10 (hereinafter, referred to as "apparatus of another type"). The emulator is generated by activating the emulator program installed on the image processing apparatus 10 according to this embodiment.

So it emulates a CPU and GPU, and translates instructions for the real hardware. Question is, what's being emulated? Confirmed PSX/PS2 BC? Seems interesting. 9 more days I guess.
 
Just had a thought. What're the chances that the new PS4 controllers will incorportate NFC similar to the new remotes that will come with some 2013 Bravia TVs? That way if you have a smartphone with NFC and Miracast abilities, you could just tap it to the controller and you get instant screen mirroring! I have no doubt the PS4 will be able to do this if you go through the menus to activate it, but it'd be so much cooler to just tap yout phone to your controller and you're good to go.
 
Doesn't seem to be Dual Camera related. Seems like a technology to create 3D images for the left and right eye, based on a pseudo-virtual-space (if it's not directly rendered on the chip if I understood that correctly).

What seems interesting though:



So it emulates a CPU and GPU, and translates instructions for the real hardware. Question is, what's being emulated? Confirmed PSX/PS2 BC? Seems interesting. 9 more days I guess.

Yeah I figured that out after I started reading the patent.


When I seen the Image Processing Unit the 1st thing I thought about was motion tracking & things like that where image processing is used. but looking more into it I think it's more like the 'Display ScanOut Engine (DCE)'
 
Doesn't seem to be Dual Camera related. Seems like a technology to create 3D images for the left and right eye, based on a pseudo-virtual-space (if it's not directly rendered on the chip if I understood that correctly).

What seems interesting though:



So it emulates a CPU and GPU, and translates instructions for the real hardware. Question is, what's being emulated? Confirmed PSX/PS2 BC? Seems interesting. 9 more days I guess.

edit: I swear I read the whole post first... must be Monday
The bit about the emulator looks like it's talking about applying the 3D conversion to emulated games.
 
edit: I swear I read the whole post first... must be Monday
The bit about the emulator looks like it's talking about applying the 3D conversion to emulated games.

seems that the 3D will be done in hardware so everything on PS4 can be 3D.

I hope this Image Processing Unit also add other image processing effects to PS1.PS2 & (hopefully) PS3 games.
 
The box design also fits in line with the console image a poster discerned from the 20th Feb teaser trailer. Same linear shape and proportions.

But what's with the shades? Lol.
 
The box design also fits in line with the console image a poster discerned from the 20th Feb teaser trailer. Same linear shape and proportions.

But what's with the shades? Lol.

3D Glasses , I think Sony is going to ship the 3D Glasses with the PS4 I seen a patent for Universal 3D Glasses so maybe the glasses will work with any 3D TV.
 
Nice find. Notice the box fits the odd dimensions thuway(?) was hinting at for PS4, but a bit thinner?

No. He admitted the number were not real. Patent drawing are generic, they don't represent any product, they just have to represent an idea.


PlayStation 4 Dual PlayStation Eye & 3D Video Chat patent?

I don't see any relation other than the use of a stereoscopic camera, but that is pretty thin. You could probably find dozens of patents pertaining to that.
 
Just had a thought. What're the chances that the new PS4 controllers will incorportate NFC similar to the new remotes that will come with some 2013 Bravia TVs? That way if you have a smartphone with NFC and Miracast abilities, you could just tap it to the controller and you get instant screen mirroring! I have no doubt the PS4 will be able to do this if you go through the menus to activate it, but it'd be so much cooler to just tap yout phone to your controller and you're good to go.

I have assumed NFC will be in for a while, Sony is going NFC crazy right now
 
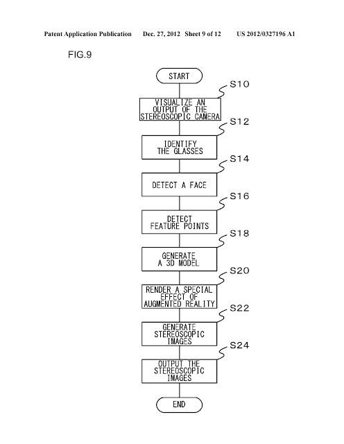
I was going to make a joke about how this patent magically removes the glasses from the users face in the video, but thats what it actually does. But won't that just give us dead sole-less eyes?
Its going to automatically paste kaz face into your face from kaz face database library in the cloud.
 
3D Glasses , I think Sony is going to ship the 3D Glasses with the PS4 I seen a patent for Universal 3D Glasses so maybe the glasses will work with any 3D TV.
I hope that patent wasn't from Sony. Most HDTVs don't have fast enough pixel response to do 3D without massive flicker or cross-talk.
No. He admitted the number were not real. Patent drawing are generic, they don't represent any product, they just have to represent an idea.
What, seriously? I've tried to be skeptical of the "insiders", but that's just sad.
 

2012 ? Those kind of patents annoy me, animating avatars through computer vision or adding AR objects on your face has been done for at least a decade (remember the old logitech webcams ?). And using stereovision to do that has been done in many labs too. I don't even understand how the patent can be accepted when it doesn't seem to bring a new idea...
*edit : apparently the "new idea" is that it can also detect and identify the user's 3D glasses. Heh, not really convinced...
 
So every SKU will ship with 3d glasses and the next eyetoy to make any TV 3D like?

Sounds cool.

This is what I thought it was doing....turning any TV into a 3D one.

there is this product 3DNow (i'm guessing they were the 3DVIP company)...but they sell an external 3D processer that turns any TV into a 3D one. here is video.

so maybe the PS4 will do the same, but in a different way.
 
This is what I thought it was doing....turning any TV into a 3D one.

there is this product 3DNow (i'm guessing they were the 3DVIP company)...but they sell an external 3D processer that turns any TV into a 3D one. here is video.

so maybe the PS4 will do the same, but in a different way.

I like how they demoed it with a DLP projector, which has a much better response time than an LCD TV, despite it being a brightly lit show floor. I'm sure it's a good idea for people with old, very expensive 2D projectors or plasmas, but for most people it'll completely destroy the appeal of 3D. They'd be better off packing in anaglyph glasses.


Side note: Holy crap, that 3D processor is $599 in the US, and the emitter and glasses are another $179. I can buy 3D TV for that.
 
This is what I thought it was doing....turning any TV into a 3D one.

there is this product 3DNow (i'm guessing they were the 3DVIP company)...but they sell an external 3D processer that turns any TV into a 3D one. here is video.

so maybe the PS4 will do the same, but in a different way.

How does work converting any TV into 3d?.
 
This is what I thought it was doing....turning any TV into a 3D one.

there is this product 3DNow (i'm guessing they were the 3DVIP company)...but they sell an external 3D processer that turns any TV into a 3D one. here is video.

so maybe the PS4 will do the same, but in a different way.

Oh shit, that little 3DNow box looks like the box thats in Sony's patent.

I have no idea whats going on.
 
Top Bottom